CWF4-503J4350 NTC溫度傳感器在多功能功放機中的應用
在追求極致影音體驗的今天,集高清畫質、3D環繞音效、專業卡拉OK與強勁功率于一體的“影K一體功放機”已成為家庭客廳和私人影K房的明星產品。它將傳統的影院系統和 KTV 系統整合到一個設備中的功率放大器,通過高清圖像處理技術、音頻解碼和系統優化,實現影院、音樂、K 歌三種模式的智能切換。用戶在享受震撼音效和精準的影音表現時,有一個關鍵元件CWF4-503J4350 NTC溫度傳感器正默默守護著設備的穩定運行。

高性能功率放大模塊在驅動音箱、輸出強大音頻信號時,其核心功率器件會產生大量熱量。這些熱量積聚在散熱片上,給功放帶來兩大挑戰:
溫度引起的音質劣化:功率器件存在最佳工作溫度區間。溫度過高會導致電氣參數發生“熱漂移”,直接造成音頻信號失真,表現為音質毛糙、細節丟失,嚴重影響聽感體驗。
高溫對壽命與安全的影響:功率器件的結溫是其關鍵參數。長期或瞬時高溫會加速元器件老化,輕則縮短設備壽命,重則導致器件永久損壞,甚至觸發系統保護關機,中斷娛樂體驗。 因此,對散熱片溫度進行實時、精準的監測,已成為保障高端功放機性能、壽命與用戶體驗的必備條件。
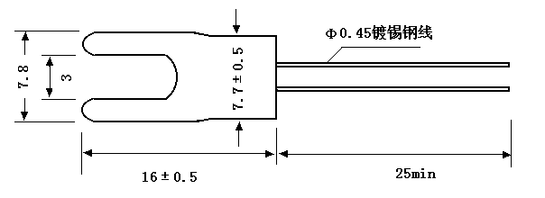
CWF4-503J4350溫度傳感器具有優異的溫度特性和可靠性,精準感知功放內部溫度。該傳感器阻值為50KΩ,阻值精度±5%,B值4350K,確保在-30℃至+125℃工作溫度范圍內實現精準測溫, 約20秒就可以對散熱片溫度變化進行快速捕捉,450mW的額定功率可用于功放這樣的大功率電路中。傳感器頭部五金件為銅鍍銀U型叉頭件,方便螺絲固定在散熱片的同時,這種鍍銀材料的導電性、導熱性相比其他鍍層的五金件最優,使該款傳感器更適配如功放這種的高頻/低損耗要求。該傳感器的核心測溫元件通過了UL(認證號E240991)、CQC(認證號13001089724)、TUV(認證號R50245892)產品認證,產品質量有可靠的保證。

CWF4-503J4350 NTC傳感器持續監測散熱片溫度,將溫度變化實時轉換為電阻值信號,傳輸至主控系統;當溫度達到預設閾值時,系統自動提升冷卻風扇轉速,增強強制散熱能力,將溫度控制在安全范圍內;若因持續高負荷工作導致溫度繼續上升,系統會智能平滑地降低功放輸出功率,既避免過熱損壞,又保證設備持續工作,實現設備安全與用戶體驗的最佳平衡。
穩定的工作溫度確保功率放大器保持在線性工作區,3D環繞音效的每個細節都得以精準還原;用戶可放心享受酣唱樂趣,系統在后臺智能管理溫度,避免傳統設備因過熱保護突然“失聲的尷尬”; 降低過熱引發的故障率,使設備成為值得信賴的家庭娛樂中心。
CWF4-503J4350 NTC溫度傳感器雖不直接參與聲音創造,卻通過精準的溫度感知與智能系統聯動,為高性能功放套上了“安全韁繩”。南京時恒生產的CWF4-503J4350 NTC溫度傳感器,靈敏度高、反應速度快,產品性能穩定,可長期工作,具有良好的絕緣密封性和抗機械碰撞、抗折彎性。